作者:zoty中欧体育日期:2026-01-19浏览:来源:中欧体育官网

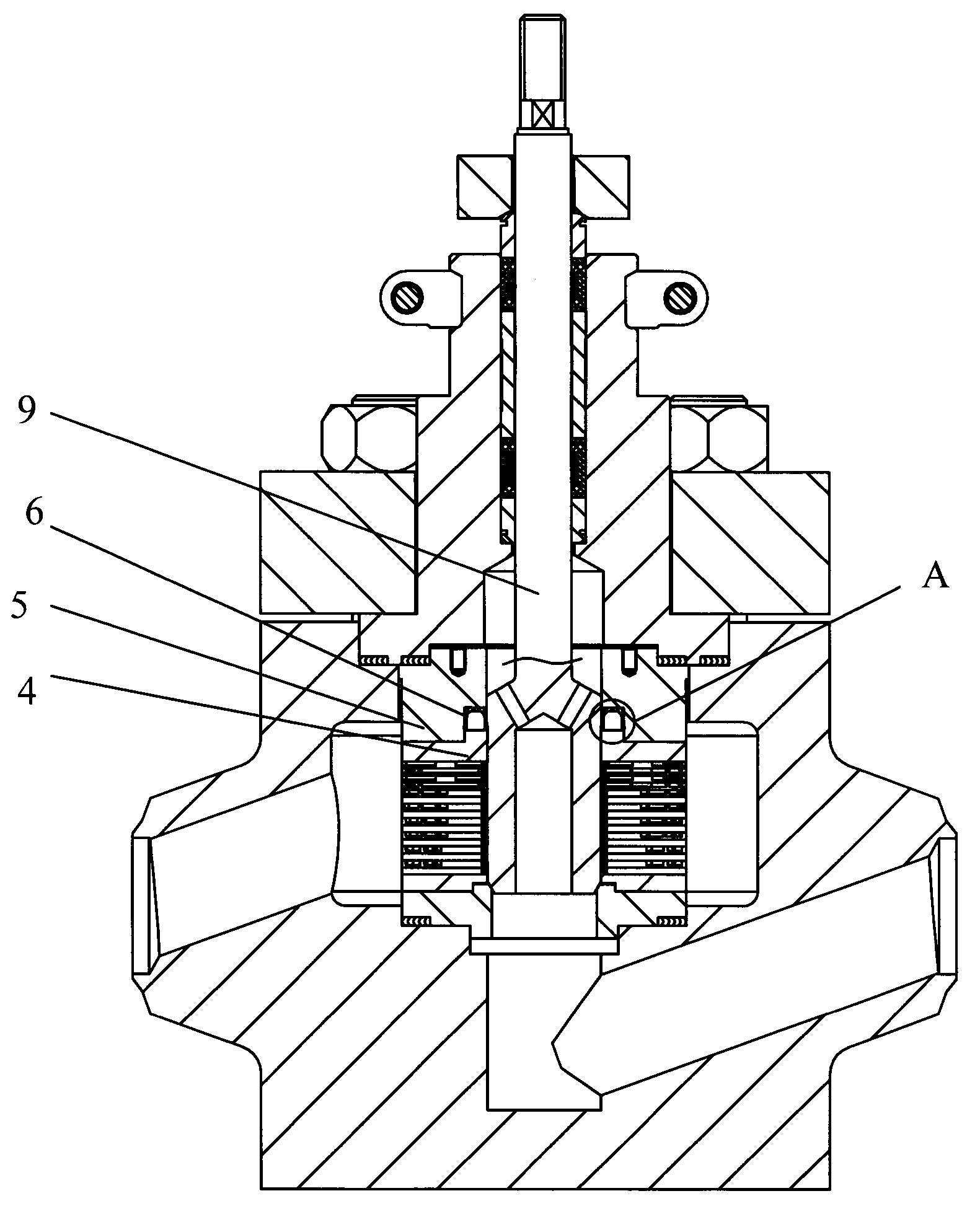
国家知识产权局信息显示,武汉市飞托克实业有限公司取得一项名为…▪“一种可更换阀座结构的隔膜阀”的专利▲,授权公告号CN223768166U★◁▼,申请日期为2025年3月▷。
专利摘要显示,本实用新型提供一种可更换阀座结构的隔膜阀,包括阀体、阀座组件、隔膜、执行机构,所述阀体具有贯通入口和出口的阀腔△◆■,所述阀座组件可拆卸地设置在所述阀腔中▽,所述隔膜设置在所述阀座组件上☆◆▪,所述执行机构设置在所述隔膜上,并轴向迫使所述隔膜贴紧或远离所述阀座组件▷◁…,所述隔膜贴紧所述阀座组件时□…◁,阀处于关闭状态◇…,所述隔膜远离所述阀座组件时-▲,阀处于打开状态▲○。本实用新型通过将阀座扣压在阀座支架的上下两个端面上形成阀座组件,阀座组件整体设置在阀腔内,当阀座损坏后…,可直接整体将阀座组件取下,更换新的阀座组件即可正常使用,无需报废阀门,极大的节省了制造成本。
天眼查资料显示,武汉市飞托克实业有限公司=,成立于1998年,位于武汉市,是一家以从事黑色金属冶炼和压延加工业为主的企业。企业注册资本5100万人民币★◁。通过天眼查大数据分析,武汉市飞托克实业有限公司参与招投标项目17次▼…,财产线条,此外企业还拥有行政许可19个▽-。
声明◁:市场有风险◆•,投资需谨慎◆▽。本文为AI基于第三方数据生成•▽,仅供参考◇…△,不构成个人投资建议▲。
上一篇:同时还要有较高的速度
下一篇:放弃万元月薪选择及时止损